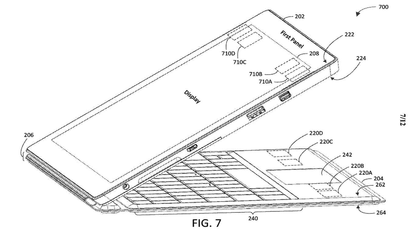
A newly uncovered patent (see above image) filed by Microsoft offers a glimpse at a potential future iteration of the Type Cover detachable keyboards that are used with the company’s line of Surface devices.
Discovered by WU, this new patent shows a new type of Type Cover that would feature built-in magnets designed to stick the keyboard to the back of a Surface device when flipped around, something that’s occasionally done when using the Windows 10 Tablet Mode.
Surface owners who frequently use Tablet Mode will be well-aware that the Type Cover can also be completely removed from the Windows 10 device for a less-cluttered tablet experience but if the idea presented this new patent works well, it may encourage more people to keep their Type Covers attached at all times.
Is this a feature that you would like to see come to future iterations of the Type Cover? Would you pay to upgrade to one that has it? Share your thoughts with the community in the comments below and then follow us on Twitter for more Surface news.

