When it comes to new pieces of technology, you never know where the next leak might come from. Take Microsoft’s mysterious Surface all-in-one device, which is most certainly going to be introduced at the company’s event this Wednesday, October 26. According to a tipster over at MSPU, the second episode of this season of CW’s superhero series Arrow might have shown off the Surface AIO in grand style.
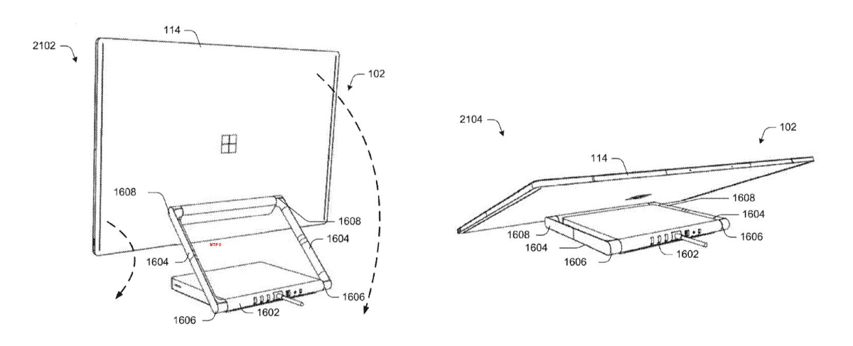
We know that the Surface AIO is likely to come in three sizes, and could very well be called the “Surface Studio,” which would be an excellent name for the product. Apparently, according to a patent that MSPU also featured, the device would morph from a typical AIO to a drawing surface for creative professionals. This would provide the ultimate stationary companion to the Surface line.
- Source: MSPU.
- Source: MSPU.
- Source: MSPU.
- Source: MSPU.
We don’t know that Arrow’s sister Thea (a.k.a., Speedy) is actually using a Surface Studio in this shot, but that sure does look like a Microsoft mouse in the close-up. If this isn’t the new Surface device, then we wish it was.
We’ll find out for sure on Wednesday, of course. In the meantime, keep your eyes open for hints like this and let us know via our tip line if you come across anything interesting.
Update: Per our comments below (and thanks!) this is clearly an existing Lenovo AIO. So, that’s one rumor squashed.
Further reading: Microsoft, Rumors, Surface, Surface All-in-One, Surface Studio


