\n
Over the past couple of months, we’ve learned a lot about Microsoft’s Andromeda/“Surface Phone” device through the never-ending stream of patents obtained by the company. Today, two new Andromeda-related patents have been published, and they reveal some interesting innovations that Microsoft has developed to make a foldable device something you’d like to use every day.
\n
\n
At this point, Microsoft is just developing it in public. https://t.co/Lv9QeIRgWp
\n
h/t @stevenwlack pic.twitter.com/VHJfGcFZTa
\n
— Brad Sams (@bdsams) April 26, 2018
\n
\n
One patent is titled “Curved Edge display with controlled luminance,” and it describes a prismatic luminance-correcting layer bonded to the light-releasing surface of a curved OLED display. This patent is all about reorienting the light emitted from the curved portions of the displays so that the person looking at it will see a plane image, as explained below:
\n
The display matrix includes a flat face portion, a curved corner portion, a light-releasing surface, and a series of pixels extending across the flat face portion and around the curved corner portion. Coupled to the light-releasing surface of the display matrix, the image-correcting layer is configured to transmit light released from the flat face portion of the display matrix and to reorient light released from the curved corner portion of the display matrix such that the transmitted light and the reoriented light exit the image-correcting layer substantially in parallel, forming an apparent plane image of the series of pixels. Arranged between the light-releasing display surface and the image-correcting layer, the luminance-correcting layer is configured to deflect the light released from the curved corner portion into an acceptance profile of the image-correcting layer.”
\n

\n
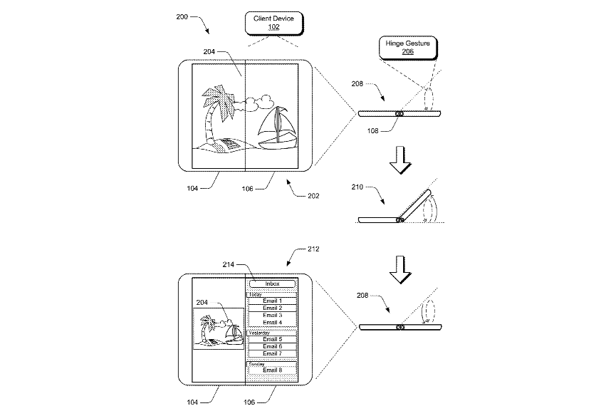
The second patent is titled “Input based on interactions with a physical hinge,” and it describes how sensors on the foldable device could enable hinge gestures by measuring a first angle of the hinge and then sensing movements. As the patent explains, the hinge gestures could allow the foldable device to transition between a multitasking state and a single tasking state, though some “additional input signals” could be added to the mix for more complex gestures:
\n
In some implementations, interactions with the hinge can be combined with one or more additional input signals to modify an operation associated with the hinge interaction. These additional input signals can include a variety of different input signals, such as an indication of an orientation of the device, a velocity at which the hinge interaction is performed, touch signals indicating how the user is holding the device, and so on. Accordingly, a variety of different input signals can be combined with the hinge interaction to modify the operation associated with the hinge interaction.
\n

\n
This is all very interesting, and Microsoft is definitely looking to make this hinge a core part of the navigation. If this Andromeda device eventually sees the light of day, it seems that it will be really unique and there should be a learning curve for users. Anyway, after revealing so much about this device through patents, it would be really too bad if the Redmond giant doesn’t release it. Microsoft always said that its Surface business was about pushing boundaries and creating new product categories, and even if there’s probably not a big market for a foldable mobile device as of today, it would be a breath of fresh air at a time when smartphones and tablets seem to have plateaued.
\n\nFurther reading: Microsoft, Microsoft patents, Surface Phone